Home
/ Kitchenaid Dishwasher Parts Diagram Model Number - Kitchenaid Dishwasher Model Kudr01tjbl0 Pressure Switch Shield 8269501 For Sale Online Ebay - Undercounter dishwasher use & care guide for questions about features, operation/performance, parts accessories or service, call:
Kitchenaid Dishwasher Parts Diagram Model Number - Kitchenaid Dishwasher Model Kudr01tjbl0 Pressure Switch Shield 8269501 For Sale Online Ebay - Undercounter dishwasher use & care guide for questions about features, operation/performance, parts accessories or service, call:
Kitchenaid Dishwasher Parts Diagram Model Number - Kitchenaid Dishwasher Model Kudr01tjbl0 Pressure Switch Shield 8269501 For Sale Online Ebay - Undercounter dishwasher use & care guide for questions about features, operation/performance, parts accessories or service, call:. I have a kitchen aid dishwasher that i can not identify a model number for. I'm looking for a wiring schematic and error codes for kitchenaid dishwasher model kuds02frss2. This part is used as a safety device to protect the dishwasher circuit from overload. Amana, whirlpool, crosley, estate, kitchenaid, maytag connect with us! The bimetal blew, i checked resistance of all circuits and everything checked out ok.
Your coupon for will be reflected when you check out! Filter results by category, title and symptom. Help finding a model number. Shop kitchenaid dishwasher repair and replacement parts. I have a kitchen aid dishwasher that i can not identify a model number for.
Kudp01flss6 Undercounter Dishwasher Built In With Built In Food Disposer P Series Kitchenaid Whirlpool Corporation from images.marcone.com Have your complete model and serial number ready. User manual for the device kitchenaid dishwasher. It is relatively old, but still works well. Kitchenaid superba dishwasher parts diagram. Enter your model number in the search box to find your model. Try googling kitchenaid dish washer parts, many times the. Buy kitchenaid dishwasher parts at reliable parts today! Find all kitchenaid dishwasher parts with our appliance model search.
I'm looking for a wiring schematic and error codes for kitchenaid dishwasher model kuds02frss2.
Enter your model number in the search box to find your model. We currently have 195 kitchenaid dishwasher models with downloadable pdf manuals. It is relatively old, but still works well. *first 5 digits of model number are reported. Filter results by category, title and symptom. Search by part or model number. Buy kitchenaid dishwasher parts at reliable parts today! Rack of a dishwasher diagram. Find all kitchenaid dishwasher parts with our appliance model search. Help finding a model number. Kitchenaid appliances with wifi connectivity are currently limited to cooktops and ovens. In canada, for assistance, installation or service, call: Amana, whirlpool, crosley, estate, kitchenaid, maytag connect with us!
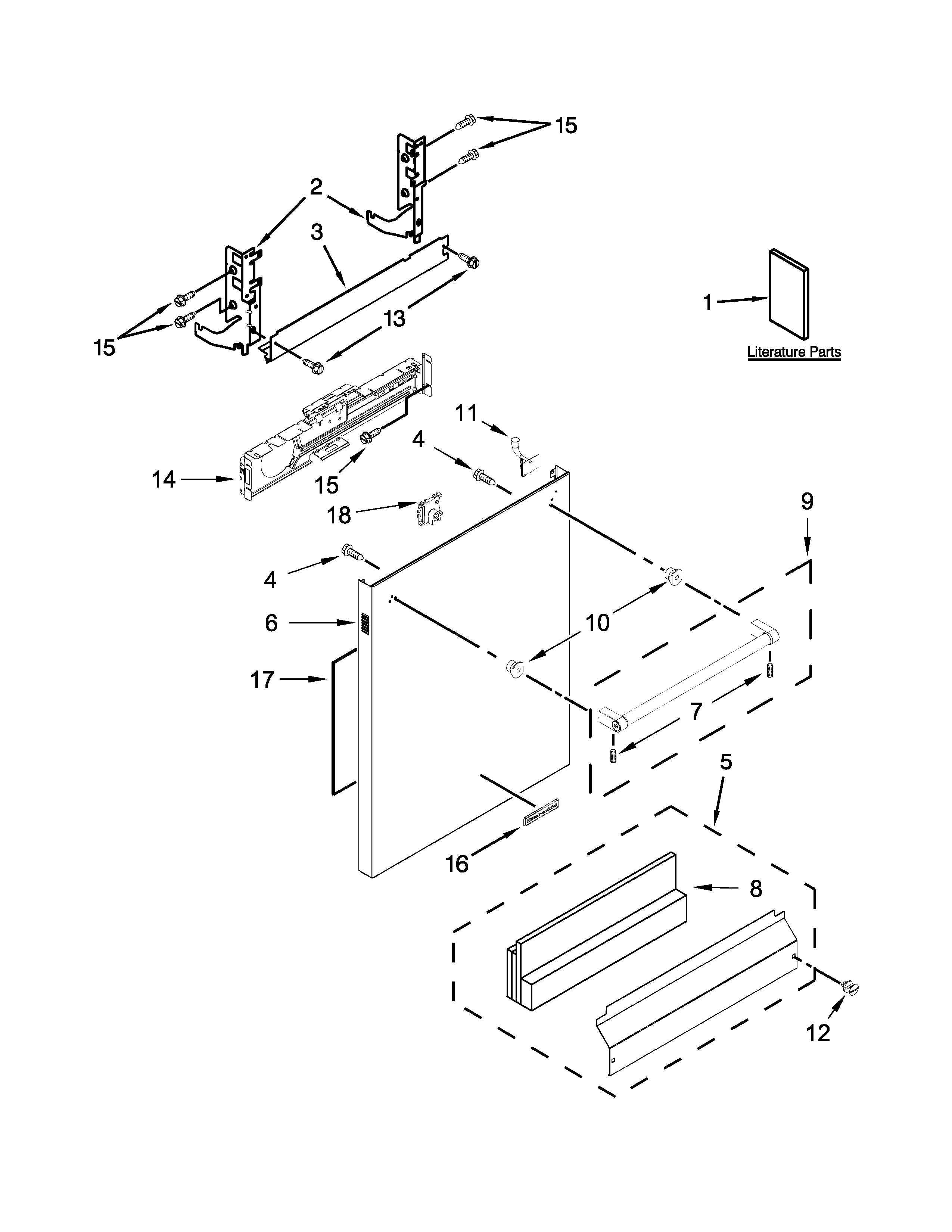
Find all kitchenaid dishwasher parts with our appliance model search. Great prices on all kitchenaid parts you need to help you repair your dishwasher quickly and easily. Your coupon for will be reflected when you check out! Search by model number (recommended) search by part number all appliance types air conditioner parts attachment parts blender parts chainsaw parts chipper shredder parts chore performer parts coffee maker parts kitchenaid dishwasher parts. Kudc03ivbl2, kudc03ivwh2, kudc03ivbs2 (black) (white) (black/stainless) undercounter dishwasher illus.
Kitchenaid 24 In Kuds01dlss Built In Dishwasher Repair Part List Manualzz from s1.manualzz.com If not, you might need to do some research to locate the right parts for your. Kitchenaid dishwasher manuals | page 5. Readout on kitchenaid stove clock missing parts of the numbers. This oem gray dishwasher lower dishrack wheel assembly is a plastic kit. Kitchenaid dishwasher models do not have a connectivity feature. Cooktops, dishwashers, dryers, freezers, garbage disposals, ice makers. I'm looking for a wiring schematic and error codes for kitchenaid dishwasher model kuds02frss2. Kudc03ivbl2, kudc03ivwh2, kudc03ivbs2 (black) (white) (black/stainless) undercounter dishwasher illus.
*first 5 digits of model number are reported.
Kitchenaid dishwasher model kdte104dss0 parts are easily labeled on this page to help you find the correct component for your repair. The tag with the model number and serial number has worn as such that you can no longer read the identifying numbers. I have a kitchen aid dishwasher that i can not identify a model number for. Additional dishwasher repair, troubleshooting tips, help with finding your model number, and part replacement videos: Find all kitchenaid dishwasher parts with our appliance model search. Kitchenaid appliances with wifi connectivity are currently limited to cooktops and ovens. Find kitchenaid dishwasher parts that serve a specific purpose and can solve your particular problem. For questions about features, operation/performance, parts, accessories or service, call: Shop for oem high quality kitchenaid dishwasher kdte254ess2 repair parts from parts dr. Any help would be appreciated. Search by part or model number. In canada, for assistance, installation or service, call: Filter results by category, title and symptom.
Kitchenaid dishwashers kitchenaid dishwasher parts kitchenaid dishwasher manuals kitchenaid dishwasher prices kitchenaid kitchenaid is one of the largest manufacturers of appliances including: Cooktops, dishwashers, dryers, freezers, garbage disposals, ice makers. Same day $9.99 shipping and free repair help. Shop for oem high quality kitchenaid dishwasher kdte254ess2 repair parts from parts dr. Kitchenaid 528824 dishwasher user manual.
Natasha Mantulak Natashamantulak Profile Pinterest from i.pinimg.com Filter results by category, title and symptom. Below are the most popular kitchenaid dishwasher models we have. Search by part or model number. The tag with the model number and serial number has worn as such that you can no longer read the identifying numbers. Help finding a model number. Your coupon for will be reflected when you check out! Get appliance parts at parts.fixitnow.com for free repair help, go to fixitnow.com samurai appliance repair man. Contact your authorized kitchenaid dealer to determine if another warranty you will need to know your complete model number and serial number.
Shop kitchenaid dishwasher repair and replacement parts.
User manual for the device kitchenaid dishwasher. If not, you might need to do some research to locate the right parts for your. Any help would be appreciated. *first 5 digits of model number are reported. This oem gray dishwasher lower dishrack wheel assembly is a plastic kit. Rack of a dishwasher diagram. You can also view diagrams and manuals, review common problems that may help answer your questions, watch. If you type in your model number you can utilize the exploded view parts diagrams at. It is relatively old, but still works well. Additional dishwasher repair, troubleshooting tips, help with finding your model number, and part replacement videos: In canada, for assistance, installation or service, call: Help finding a model number. Buy kitchenaid dishwasher parts to repair your kitchenaid dishwasher at easy appliance parts.
Share :
Post a Comment
for "Kitchenaid Dishwasher Parts Diagram Model Number - Kitchenaid Dishwasher Model Kudr01tjbl0 Pressure Switch Shield 8269501 For Sale Online Ebay - Undercounter dishwasher use & care guide for questions about features, operation/performance, parts accessories or service, call:"
Post a Comment for "Kitchenaid Dishwasher Parts Diagram Model Number - Kitchenaid Dishwasher Model Kudr01tjbl0 Pressure Switch Shield 8269501 For Sale Online Ebay - Undercounter dishwasher use & care guide for questions about features, operation/performance, parts accessories or service, call:"